< Previous   Next >

2008 - MX-5 - Body and Accessories

AUDIO UNIT DISASSEMBLY/ASSEMBLY

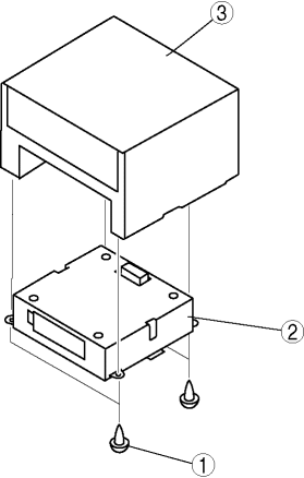
1. Disassemble in the order indicated in the table.



1

Screw

2

Lower module

3

Base unit


2. Assemble in the reverse order of disassembly.


< Previous   Next >
Back to Top
© 2009 Mazda North American Operations, U.S.A.