< Previous   Next >

2008 - MX-5 - Body and Accessories

DOOR SWITCH REMOVAL/INSTALLATION

1. Remove the battery cover.
2. Disconnect the negative battery cable. (See BATTERY REMOVAL/INSTALLATION [LF].)
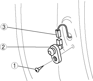
3. Disassemble in the order indicated in the table.



1

Screw

2

Door switch

3

connector


4. Install in the reverse order of removal.


< Previous   Next >
Back to Top
© 2009 Mazda North American Operations, U.S.A.