NOTE:
If the keyless control module is replaced, always perform the following procedure.
Without immobilizer system
Keyless control module configuration (See KEYLESS CONTROL MODULE CONFIGURATION [ADVANCED KEYLESS SYSTEM].)
Card key programming (See CARD KEY ID CODE REGISTRATION [ADVANCED KEYLESS SYSTEM].)
Steering lock unit programming (See STEERING LOCK UNIT ID CODE REGISTRATION [ADVANCED KEYLESS SYSTEM].)
With immobilizer system
Keyless control module configuration (See KEYLESS CONTROL MODULE CONFIGURATION [ADVANCED KEYLESS SYSTEM].)
Card key programming (See CARD KEY ID CODE REGISTRATION [ADVANCED KEYLESS SYSTEM].)
Steering lock unit programming (See STEERING LOCK UNIT ID CODE REGISTRATION [ADVANCED KEYLESS SYSTEM].)
Immobilizer system resetting (with immobilizer system) (See IMMOBILIZER SYSTEM COMPONENT REPLACEMENT/KEY ADDITION AND CLEARING [ADVANCED KEYLESS SYSTEM].)
1. Disconnect the negative battery cable. (See BATTERY REMOVAL/INSTALLATION [LF].)
2. Remove the side panel. (See SIDE PANEL REMOVAL/INSTALLATION.)
3. Remove the bolt and nut.
4. While inclining the keyless control module along the body panel in the direction indicated by the arrow, disengage the bracket tab from the hole in the body panel.
5. Disconnect the keyless control module connector.
6. Remove the keyless control module.
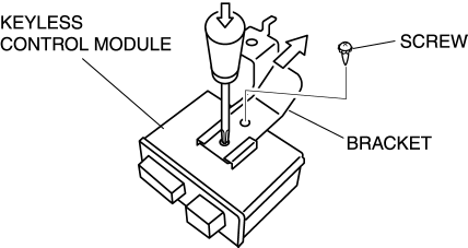
7. Remove the screw, then remove the bracket.NOTE:
The screw which fixes the keyless control module and bracket is for a body ground connection. Be sure to secure the screw when installing.
8. Install in the reverse order of removal.