WARNING:
Handling the air bag module improperly can accidentally operate (deploy) the air bag module, which may seriously injure you. Read the air bag system service warnings and cautions before handling the air bag module. (See AIR BAG SYSTEM SERVICE WARNINGS.) (See AIR BAG SYSTEM SERVICE CAUTIONS.)
If the side air bag module is installed with debris in the seat back, the foreign material may be scattered when the side air bag module operates (deploys), causing injury. Verify that there is no foreign material in the seat back before installing the side air bag module.
1. Turn the ignition switch to the LOCK position.
2. Remove the battery cover.
3. Disconnect the negative battery cable and wait for 1 min or more. (See BATTERY REMOVAL/INSTALLATION [LF].)
4. Remove the seat. (See SEAT REMOVAL/INSTALLATION.)
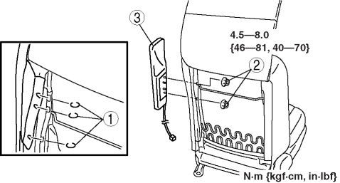
5. Detach the tab as shown in the figure and remove the connector from the seat connector.
6. Partially peel back the seat back trim.
7. Partially peel back the seat back pad.
8. Remove in the order indicated in the table.
1
Hook
2
Nut
3
Side air bag module
9. Install in the reverse order of removal.
10. Turn the ignition switch to the ON position.
11. Verify that the air bag system warning light illuminates for approx. 6 s and goes out.
If the air bag system warning light does not operate normally, refer to the on-board diagnostic system (air bag system) and perform inspection of the system.