< Previous   Next >

2008 - MX-5 - Suspension

TOE CONTROL LINK REMOVAL/INSTALLATION

1. Remove in the order indicated in the table.
2. Install in the reverse order of removal.
3. Inspect the rear wheel alignment. (See REAR WHEEL ALIGNMENT.)



1

Toe control link ball joint

(See Toe Control Link Ball Joint Installation Note.)

2

Toe control link

3

Dust boot

(See Dust Boot Installation Note.)


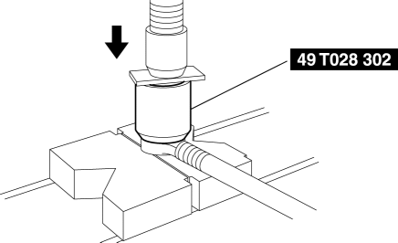
Dust Boot Installation Note

1. Wipe the grease off the ball joint stud.
2. Fill the inside of the new dust boot with grease.
3. Using the SST, install the dust boot to the ball joint.

4. Wipe off the excess grease.

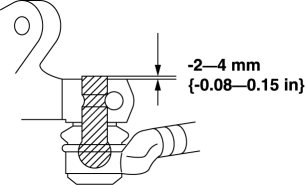
Toe Control Link Ball Joint Installation Note

1. Install the toe control link ball joint so that the ball joint stud projection is within -2—4 mm {-0.08—0.15 in}.



< Previous   Next >
Back to Top
© 2009 Mazda North American Operations, U.S.A.