< Previous   Next >

2008 - MX-5 - Suspension

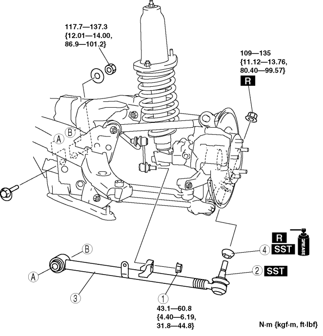
REAR LATERAL LINK (LOWER) REMOVAL/INSTALLATION

1. Remove in the order indicated in the table.
2. Install in the reverse order of removal.
3. Inspect the rear wheel alignment. (See REAR WHEEL ALIGNMENT.)



1

Stabilizer control link lower nut

2

Rear lateral link (lower) ball joint

(See Rear Lateral Link (Lower) Ball Joint Removal Note.)

3

Rear lateral link (lower)

4

Dust boot

(See Dust Boot Installation Note.)


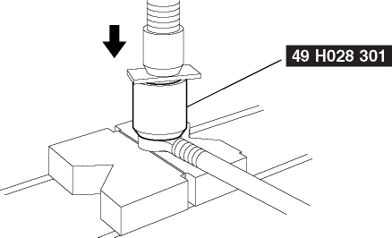
Rear Lateral Link (Lower) Ball Joint Removal Note

1. Using the SST, disconnect the ball joint.

NOTE:

Dust Boot Installation Note

1. Wipe the grease off the ball joint stud.
2. Fill the inside of the new dust boot with grease.
3. Using the SST, install the dust boot to the ball joint.

4. Wipe off the excess grease.


< Previous   Next >
Back to Top
© 2009 Mazda North American Operations, U.S.A.