< Previous   Next >

2008 - MX-5 - Suspension

REAR TRAILING LINK (UPPER) REMOVAL/INSTALLATION

1. Remove in the order indicated in the table.
2. Install in the reverse order of removal.
3. Inspect the rear wheel alignment. (See REAR WHEEL ALIGNMENT.)



1

Rear trailing link (upper) ball joint

(See Rear Trailing Link (Upper) Ball Joint Removal Note.)

2

Rear trailing link (upper)

3

Dust boot

(See Dust Boot Installation Note.)


Rear Trailing Link (Upper) Ball Joint Removal Note

1. Using the SST, disconnect the ball joint.

NOTE:

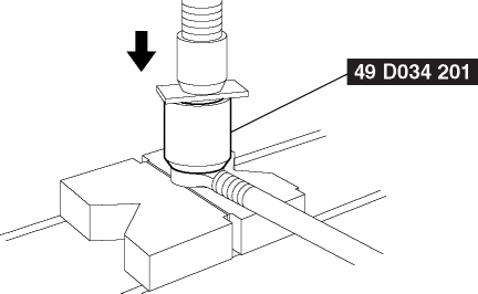
Dust Boot Installation Note

1. Wipe the grease off the ball joint stud.
2. Fill the inside of the new dust boot with grease.
3. Using the SST, install the dust boot to the ball joint.

4. Wipe off the excess grease.


< Previous   Next >
Back to Top
© 2009 Mazda North American Operations, U.S.A.