< Previous   Next >

2008 - MX-5 - Engine

BATTERY RECHARGING [LF]

WARNING:

CAUTION:

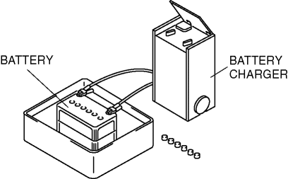
1. Remove the battery and then place it in a pan of water.

2. Connect a battery charger to the battery and adjust the charging current as follows.
3. After the battery is recharged, verify that the voltage is within the specification and remains at the same value for 1 h or more after the recharging was completed.


< Previous   Next >
Back to Top
© 2012 Mazda North American Operations, U.S.A.