NOTE:
Perform the following inspection only when directed.
1. Remove the battery cover
2. Disconnect the negative battery cable. (See BATTERY REMOVAL/INSTALLATION [LF].)
3. Remove the variable intake air solenoid valve. (See VARIABLE INTAKE AIR SOLENOID VALVE REMOVAL/INSTALLATION [LF].)
4. Inspect airflow between the ports under the following conditions.
If not as specified, replace the variable intake air solenoid valve.
If as specified, carry out the “Circuit Open/Short Inspection”.
1. Disconnect the PCM connector. (See PCM REMOVAL/INSTALLATION [LF].)
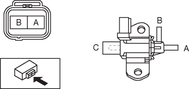
2. Inspect the following wiring harness for open or short (continuity check).
If there is no continuity, the circuit is open. Repair or replace the wiring harness.
Variable intake air solenoid valve terminal B and PCM terminal 2J
Variable intake air solenoid valve terminal A and main relay
If there is continuity, the circuit is shorted. Repair or replace the wiring harness.
Variable intake air solenoid valve terminal B and power supply
Variable intake air solenoid valve terminal B and body ground
Variable intake air solenoid valve terminal A and body ground