< Previous   Next >

2008 - MX-5 - Engine

OIL PUMP REMOVAL/INSTALLATION [LF]

WARNING:

1. Remove the battery and battery tray. (See BATTERY REMOVAL/INSTALLATION [LF].)
2. Remove the air cleaner. (See INTAKE-AIR SYSTEM REMOVAL/INSTALLATION [LF].)
3. Drain the engine oil. (See ENGINE OIL REPLACEMENT [LF].)
4. Loosen the water pump pulley bolt and remove the drive belt. (See DRIVE BELT REPLACEMENT [LF].)
5. Remove the front suspension tower bar (joint, right side, and left side). (See FRONT SUSPENSION TOWER BAR REMOVAL/INSTALLATION.)
6. Remove the plug hole plate. (See PLUG HOLE PLATE REMOVAL/INSTALLATION [LF].)
7. Remove the ignition coils. (See IGNITION COIL REMOVAL/INSTALLATION [LF].)
8. Remove the P/S oil pump with the hose and pipe sill connected. Position the P/S oil pump out of the way. (See POWER STEERING OIL PUMP REMOVAL/INSTALLATION.)
9. Remove the crankshaft position (CKP) sensor. (See CRANKSHAFT POSITION (CKP) SENSOR REMOVAL/INSTALLATION [LF].)
10. Remove the engine front cover. (See TIMING CHAIN REMOVAL/INSTALLATION [LF].)
11. Remove the transverse member. (See TRANSVERSE MEMBER REMOVAL/INSTALLATION.)
12. Remove the member bracket. (MT) (See TRANSMISSION REMOVAL/INSTALLATION [M15M-D].) (See TRANSMISSION REMOVAL/INSTALLATION [P66M-D].)
13. Remove the oil pan. (See OIL PAN REMOVAL/INSTALLATION [LF].)
14. Remove in the order indicated in the table.
15. Install in the reverse order of removal.
16. Refill the specified type and amount of the engine oil. (See ENGINE OIL REPLACEMENT [LF].)
17. Start the engine and confirm that there is no oil leakage.
18. Inspect the oil level. (See ENGINE OIL LEVEL INSPECTION [LF].)
19. Inspect for the ignition timing and idle speed. (See ENGINE TUNE-UP [LF].)
20. Inspect the oil pressure. (See OIL PRESSURE INSPECTION [LF].)



1

Oil strainer

2

Oil pump chain guide

3

Oil pump chain tensioner

4

Oil pump chain

5

Oil pump sprocket

(See OIL PUMP REMOVAL/INSTALLATION [LF].)

6

Oil pump

(See OIL PUMP REMOVAL/INSTALLATION [LF].)


Oil Pump Sprocket Removal/Installation Note

1. Temporarily install the crankshaft pulley and crankshaft pulley lock bolt to the crankshaft, and lock the oil pump against rotation as shown in figure.

2. Remove/install the oil pump sprocket, and then remove the crankshaft pulley and crankshaft pulley lock bolt.

Oil Pump Installation Note

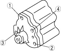
1. Tighten the oil pump bolts in two steps in the order shown in the figure.

    Tightening torque
  1. Step 1: 8—12 N·m {82—122 kgf·cm, 71—105 in·lbf}

  2. Step 2: 17—23 N·m {1.8—2.3 kgf·m, 12.6—16.9 ft·lbf}



< Previous   Next >
Back to Top
© 2012 Mazda North American Operations, U.S.A.