< Previous   Next >

2008 - MX-5 - Engine

PLUG HOLE PLATE REMOVAL/INSTALLATION [LF]

1. Remove the plug hole plate.

NOTE:

2. Install the plug hole plate.
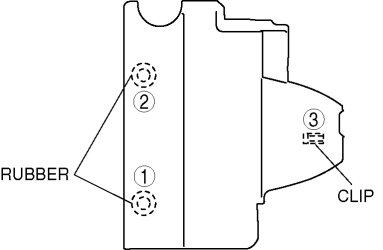
a. To position the plug hole plate, grasp rubber 1 and 2, as shown in the figure, with your hands and press them in.

b. Grasp clips 3 with your hands and press them in.


< Previous   Next >
Back to Top
© 2012 Mazda North American Operations, U.S.A.